Опечатка 257 а не 259. Ищу схемку на данный аппарат. Он вообще рабочий, но хочу немного его подшаманить. Дроссель добавить.РЕле на более мощное поменять.
Вид для печати
Опечатка 257 а не 259. Ищу схемку на данный аппарат. Он вообще рабочий, но хочу немного его подшаманить. Дроссель добавить.РЕле на более мощное поменять.
И что это за зверь такой - хоть бы фотки внутрянки скинули.
Китайские сварочники плодятся как кролики, какие схемы??? Название вторично, главное, что внутри!
Вот на этот скину. ЧУть попозже.Сейчас не могу.
Вложение 8723Это мост. Вложение 8724Дроссель ему не нужен. Можно конечно втулить и дроссель но не буду.Напряжение на кондесаторах 280 вольт. нужно или менять или добавлять . В сети 230.На даче там ниже НЕ потянет 4 или 3.
НЕ перемерял другим прибором 300 вольт постоянки.Должно быть 310 при 220. У меня 230 в сети.Кондёры потеряли емкость.Китайский мультиметр д....о показывает 235 переменного. Аналоговый надо из подвала доставать.Всё равно хотел емкостей подкинуть.Только вот зарядное сопротивление выдержит ещё 3 банки по 450.
Ну, если хотите подшаманить, сначала разберитесь с измерительными приборами.
Дроссель, даже скромный - не помешает. Тряпку заменить на подложки из оксида алюминия, так транзисторы дольше прослужат. Конденсаторы добавлять или нет - зависит от выходного тока, который, судя по конструкции - 140-150 А, то есть особого смысла добавлять ёмкость нету. Зарядный резистор и так не маленький. А так главный принцип: работает - не трогай!
В плюсе там можно без всякой тряпки. Стоки на радиатор. А вот по минусу лучше распилить надвое или отдельный на каждый. Непонятно почему в плюсе тоже через прокладку , для симметрии наверно, для красоты.
Аппарат похож на Forward. Схема, монтажка немного не такая, ну это не суть.
В плюсе - чтобы радиатор не под потенциалом. Керамика решает вопрос, пилить не надо, здесь не та мощность на ключе.
А что страшного под потенциалом. Там правда термодатчик.Вложение 8725А вот на затворах что за хрень.Осцилом стал между эммитером и затвором.Но это без нагрузки на минимальном токе.
Но это без нагрузки на минимальном токе. - что это значит? - если нет нагрузки, то как не крути регулятор тока картинка меняться не будет. Может ослик барахлит?и что там за драйвера? нужно посмотреть до ТГР и после на обмотках. О - рассмотрел драйвера три детали в два ряда.
Очень большая помеха по питанию ШИМа. Где то 1 вольт это при 15вольт питании на 15 ноге UC3846.ВЫкинуть нахер эту дежурку, на трансе сделать 2 по 15 и 24 и трансик есть подходящий. Для намеченого "косого" собрал на нём включение реле.На выходе у ШИМа выбросы по фронтам.Завтра отключу силу и посмотрю. При хорошем питании эти микросхемы дают(должны давать) идеальные импульсы.Так что добавлять свои драйвера. Да драйвера простейшие(Да кстати схема это FORWARD200 IGBT)
Думается мне что помеха может быть от компоновки или недостаточной фильтрации. Трансик это хорошо, но не совсем - импульсники в сварочниках начинают работать от 80 до 130 вольт это нижний предел если конечно не стоит защита от пониженного напряжения - а что бы это обеспечить на трансике прийдётся завышать вторички соответственно при нормальном напряжении на входе на кренках будет большое падение и соответственно нагрев. Я исхожу из того, что сварочники нормально работают с импульсными дежурками значит соответственно нужно найти причину этих пульсаций.
Ну вообще-то, если сварочник РАБОТАЕТ НОРМАЛЬНО, может проблема в ослике или щуп/провод ловит помеху. Что мешает отключить силу, запитать ШИМ отдельно и посмотреть форму импульсов на ключах? Понятное дело, что при питании силы картинка будет хуже, но для отделения мух от котлет - сойдёт. И покажите на экране два соседних импульса.
Трансик 50 Гц - это утопия. Или обратноход с нужными напряжениями, или изолированные DC-DC от основного.
Так вот тут же и стоит обратноход.Проверить не могу.В квартире проводка слабовата. Эх на работе все условия... но не внесёшь.Вернее внесёшь , потом не вынесешь
Там и баластник и ослик хороший и куча источников питания.Два соседних импульса, шас попробую. Хотя у меня ослик ОМЛ-2м.( Другого дома нема:D). Я было ,дело, ремонтировал Kemppi_150
так там без силы импульс - идеал. С силой что то ужасное. Всё проверил. Отдал сказали варит отлично. (В нём реле слабое ,мост слабый, драйвер просто 2 транзистора,вентилятор слабый,корпус пластик-дорогущее дерьмо).
Всё это поменял, кроме корпуса и вентилятора.Отдал людям довольны.Правда там защита от пониженного и от повышенного напряжения включения.Дежурка от выходного транса. ВО...
Вложение 8733Это между двух затворов.
Импульсы нормальные. Понять бы ещё, что Вы имеете в виду: это между двух затворов, каких? Раскачки? Не ужели только я трачу время на написание постов так, чтобы не было недопонимания?
Это прямо на ключах.Спаибо что тратите время. Это для общего дела. Может кому понадобится .
Будут знать: EDON 257 это тоже что и FORWARD 200 IGBT
Последний занудный вопрос к теоретикам. Дроссель ставить ?На железе, на феррите, на воздухе ,как у китайцев?Мост добавить хочу и реле помощнее.
Сами если поняли что написали - хорошо. Это просто картинка - осциллограмма сигнала затвор-эмиттер - должна давать понимание - вход -открытый-закрытый. Сколько вольт на деление и длительность импульса на клетку, то есть параметры развёртки - тогда её можно использовать или не использовать как образец для сравнения.
Будут знать: EDON 257 это тоже что и FORWARD 200 IGBT - только при вскрытии можно сказать это одно и тоже или нет - китайчатина однако.
Мост добавить хочу и реле помощнее - всё равно что в кузов запорожца всунуть двигатель от "бэхи" и коробку автомат - будет запорожец.
По дросселям есть целая тема - я их всяких перепробовал и сам дросселя ставил разные и на железе и на феррите и просто на воздухе - замерял индуктивность и сравнивал ( это из спортивного интереса ) - так вот если взять "мост" то схема бывает и без дросселя лучьше варит чем с дросселем и наоборот - в общем поле деятельности здесь есть - это как пример.
Сегодня отдал аппарат так вот там дежурка на трансе 50Гц - на ХХ невозможно засинхронизировать осциллограмму на затворе - из-за того что в аппарате есть схема ограничения выходного напряжения и при этом выходной трансформатор издаёт жужжание-журчание - залил феррит клеем пропало, но из трансформатора прослушивается шум
то есть аппарат работает в режиме стабилизации напряжения - теперь нагружаем что бы напряжение упало на выходе вольт на 5-10 и всё становится на место - осциллограмма стоит как вкопаная то есть аппарат переходит в режим стабилизации тока ну дальше при уменьшении сопротивления нагрузки в режим ограничения тока до уровня установленного регулятором - в общем где то так.
Усиление 10 вольт на клетку. Развёртка 5мкс на клетку.Один конец одноканального осцила на один затвор другой конец на другой затвор левого и правого плеча ну Вы поняли. Двухканального нет. В мостовых преобразователях другой картинки по форме и не может быть. Просто во время мёртвого времени есть какие то импульсы вниз.Я на всех мостах смотрю в других аппаратах эту осцилу, да и любой прямоугольный сигнал сдвинутый по фазе при установке двух щупов одноканального осцила даст такой сигнал.
Если они сдвинуты на разных каналах по фазе и одноканальным стать сразу на два канала. Я не понял фразы вашей." Если сами поняли". Прекрасно понимаю ,что меряю. Коллектор эммитер не буду мерить. ОМЛ без делителя может пыхнуть.На первой фотке осцила между эммитером и затвором одного транзистора, как раз половина второй осцилы.
Я не понял фразы вашей." Если сами поняли". "Это между двух затворов." - а по вашему это написано понятно. У некоторых электриков в розетке есть плюс и минус - хотя они при этом подразумевают фазу и нуль. Ну да ладно об этом. Вот та полочка, которая мёртвое время она должна находится на нулевой линии, то есть без сигнала линия развёртки посредине экрана - открытый вход и смотрим осциллограмму на затворе. Коллектор-эмиттер никто и не просит измерять:) бо может жахнуть.
Ну это не такие уже и тупые электрики. Плюс и минус меняются местами 100 раз в секунду.:D
Эх.... ОМЛ мой глючит на ждущей развёртке. Я держал щупы ,а сын фоткал. Среднюю динию я не успел посмотреть. Я думаю всё там нормально.На даче весной попробую.Я бы релюшку поменял... Вот тот невдалый Kemppi из-за релюшки и жахнул.
Залипло реле, стрельнул мост, затем транзистоы и диоды.Вот так бывает из-за жлобства на хорошем реле.
Конечно не совсем тупые:D Я тоже думаю что всё нормально - я когда начинал заниматься силовой электроникой несколько "бахов" получил ( а это не дешовые силовые со своего кармана) так я сейчас тщательно смотрю всё - любой не контакт - осциллограмма "кривая" и прочее может по итогу бахнуть - ещё транзисторы сами по себе могут подвести. В "косом" в драйвере стабилитрон стоит и как раз видно как полочка уходит на минус 5 вольт вниз относительно нуля - это когда открытый вход у ослика - будет закрытым можно не увидеть этого и будет "бах". Ну реле то можно поменять если оно не на 40 Ампер - если этого мало, то тогда контактор - у меня лежит на 600 Ампер.:)
Действительно реле нормальное на 40 А не помешает, мост добавлять нет смысла ( уверен, что аппарат на балласте больше 150 А не даст), дроссель (любой, кроме воздушного) я бы добавил, разницы в работе может и не будет, но так правильней. Всё имхо... Или вообще не трогать...
Спасибо всем кто откликнулся. Я думаю, что этот аппарат (который я взял за 560 гривен с рук)послужит мне. Учту все пожелания.
На ровном месте возник спор между мной и зам нач цеха єлектроремонтного.У меня в
Єдоне нет дросселя, ну мост....потому решили китаёзы сэкономить. Я понимаю,что дроссель нужен, хоть и мост.
Ну "Ше не поставив- ледацюга я". Хотя лопату варил, сапачку варил(я не сварщик, вообще ноль -я ремонтник сварок).
Наш уважаемый Вас Федоровыч каже "не буде варить взагалі". И свои аргументы и он сварка с дросселем и он...
Я ему...та всё правильно полумост "взагалі не буде варить, а мост буде варить, ну не дуже гарно". А он не можеть быть, не можеть быть.
О так у людей сидят заблуждения или предубеждения...
Надо не спорить, а изучать теорию. Почему в "косом" или прямоходе нужен дроссель? Потому что ток качается в нагрузку только половину периода, поэтому когда нет тока, то запасённая энергия в дросселе через обратный диод идёт в нагрузку, таким образом ток в нагрузке не прерывается. Теперь посмотрите как работает мост или полумост и сравните с прямоходом. Дроссель в мостах даёт эффект на малых токах когда заполнение уменьшается.
Спасибо это мне и надо было напечатать.Да собственно спор именно про "МОСТ" что именно мост не будет варить "ваще ...." Просто чтобы не тащить сварку и открывать её хочу подвести Вас Федоровича к компу и показать вот эти посты.
Пост специально был провокационным, не буду же я тащить, и открывать, и варить ...
"...а изучать теорию....!
На одном международном симпозиуме врачей молодая продвинутая журналистка спрашивает академика, мол зачем учиться, столько времени, сил и денег тратить если в интернете легко и быстро можно найти названия лекарства от любой болезни.
- Внученька, ну хотя бы для того что бы не умереть от опечатки.
Василий Фёдорович ув человек на заводе, мои слова для него не авторитет. Вот для єтого я єту кашу и заварил.
Вот форум, вот люди пишут.....и вообщем всё.Мой аппарат варит и на маленьких токах без дросселя.Лопата там 2мм
сталь я её сварил.А литературу мы читаем. Её маловато на наших языках, только на буржуйских.У нас пару авторов на весь союз до конца понимают ,что они пишут.
Вот предлагают Семёнова почитать, а там честно говоря ни.......чего и не написано. Вырвано из разных статей и собрано в кучу.Есть авторы не буду называть, все знают
которые пишут по теме.
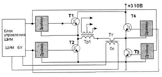
Ассиметричный или «косой» мост
Это однотактный, прямоходовой преобразователь, блок схема которого приведена ниже:
Вложение 11489
Данный тип преобразователя довольно популярен как у простых радиолюбителей, так и у производителей сварочных инверторов. Самые первые сварочные инверторы строились именно по таким схемам – асимметричный или «косой» мост. Помехозащищенность, довольно широкий диапазон регулирования выходного тока, надежность и простота – эти все качества до сих пор привлекают производителей до сих пор.
Довольно высокие токи, проходящие через транзисторы, повышенное требование к качеству управляющего импульса, что приводит к необходимости использовать мощные драйвера для управления транзисторами, а высокие требования к выполнению монтажных работ в этих устройствах и наличие больших импульсных токов, которые в свою очередь повышают требования к конденсаторным фильтрам – это существенные недостатки такого типа преобразователя. Также для поддерживания нормальной работы транзисторов необходимо добавление RCD цепочек – снабберов.
Но несмотря на выше перечисленные недостатки и низкий КПД устройства по схеме асимметричный или «косой» мост все еще применяются в сварочных инверторах. В данном случае транзисторы Т1 и Т2 будут работать синфазно, то есть закрываться и открываться одновременно.
В данном случае накопление энергии будет происходить не в трансформаторе, а в катушке дросселя Др1. Именно поэтому для того, чтоб получить одинаковую мощность с мостовым преобразователем необходим удвоенный ток через транзисторы, так как рабочий цикл при этом не будет превышать 50%. ...
...Дроссель для сварочного полуавтомата намотан на железе от трансформатора ТС-180,...
https://spttehno.ru/most-invertor/
А вот схема полного моста, полумост - аналогично, и эти без дросселя.
Вложение 11490
5 минут и вуаля, со ссылками на разработчиков.
Дроссель с разрядным диодом сами на схеме найдете?
По теме: Покупал такую сварку в 2014, тогда оно звалось edon mma 250p. Хорошая железка. По сути это вывернутая на изнанку классическая zx7-250 трехэтажка с отличной продуваемостью, схема гуглится менее чем за минуту. Вот, навскидку - http://svarka-barnaul.3dn.ru/_ld/2/229_MMA_ZX7-225.jpg - совпадает на 99%